
Установка гидроусилителя руля (ГУР) на КамАЗ 65115С и 6520 – важная процедура, которая значительно улучшает управляемость транспортного средства. ГУР снижает нагрузку на водителя при маневрировании, особенно при работе в условиях города или на тяжелых грузоперевозках. Для успешной установки необходимо строго следовать инструкции и использовать качественные комплектующие.
Перед началом работы рекомендуется подготовить все необходимые инструменты и комплектующие: насос ГУР, гидравлические шланги, крепежные элементы и, конечно же, сам гидроусилитель. Убедитесь в соответствии деталей модели и года выпуска КамАЗа, так как не все компоненты могут подходить к каждому типу автомобиля.
Основной этап – это демонтаж старого рулевого механизма, если он установлен, и монтаж нового гидроусилителя. Процесс требует точности и соблюдения технологических норм. Также стоит обратить внимание на прокачку системы после установки, чтобы избежать воздушных пробок в трубопроводах и обеспечить стабильную работу всей гидросистемы.
Важно помнить, что правильная настройка и проверка уровня жидкости в системе ГУР после установки существенно влияют на долговечность и эффективность работы автомобиля. Ошибки в этих процессах могут привести к преждевременной поломке компонентов или снижению эффективности работы рулевого управления.
Установка ГУР на КамАЗ 65115С 6520: Пошаговая инструкция
Перед началом установки ГУР на КамАЗ 65115С 6520 подготовьте все необходимые инструменты и запчасти. Убедитесь, что у вас есть гидроусилитель руля, насос, трубопровод, фильтры и крепежные элементы. Работы должны проводиться на ровной поверхности с отключенным аккумулятором.
Шаг 1: Демонтаж старой системы
Начните с отключения аккумулятора. Снимите старую рулевую рейку и насос ГУР, если они были установлены. Отключите все трубопроводы, соединяющие насос с рейкой. Для этого аккуратно снимите хомуты и отсоедините соединения. Убедитесь, что в системе не осталось жидкости.
Шаг 2: Установка насоса
Установите новый насос ГУР в штатное место. Для этого используйте соответствующие крепежные элементы. Убедитесь, что насос правильно выровнен и закреплен. Проверьте, что шкив насоса располагается в нужной плоскости и не имеет перекосов. Подсоедините к насосу шланги для подачи и отведения жидкости.
Шаг 3: Монтаж рулевой рейки
Приступите к установке рулевой рейки. Закрепите рейку на кузове автомобиля с помощью штатных креплений. Проверьте, чтобы рейка не имела люфта и была установлена строго по центру. Подключите шланги от насоса к рулевой рейке, используя необходимые фитинги и уплотнители, чтобы избежать утечек жидкости.
Шаг 4: Подключение трубопроводов
Подсоедините трубопроводы к насосу и рейке. Все соединения должны быть плотно затянуты, чтобы избежать утечек гидравлической жидкости. Применяйте герметик для гидравлических соединений, если это указано в инструкции к комплектующим.
Шаг 5: Заполнение системы
Залейте в систему гидравлическую жидкость. Для КамАЗ 65115С 6520 рекомендуется использовать жидкость, соответствующую стандартам производителя. Заполняйте систему до необходимого уровня, проверяя, чтобы в системе не было пузырьков воздуха. Это можно сделать, прокачав систему, несколько раз поворачивая руль в крайние положения при запущенном двигателе.
Шаг 6: Проверка работы ГУР
После заполнения системы гидравлической жидкостью, заведите двигатель и несколько раз поверните руль в крайние положения. Проверьте отсутствие посторонних шумов и течей. Если руль становится мягким и без усилий достигается нужное положение, система работает корректно.
Шаг 7: Завершающая проверка
После завершения установки проверьте уровень жидкости в системе и повторно убедитесь, что все соединения затянуты. Проведите тест-драйв, чтобы убедиться в стабильной работе гидроусилителя руля.
Подготовка инструментов и материалов для установки ГУР
Для правильной установки ГУР на КамАЗ 65115С 6520 требуется специфический набор инструментов и материалов. Подготовка обеспечит качественную работу и предотвращение возможных неисправностей.
Инструменты:
1. Ключи для гаек и болтов (от 10 до 32 мм) – используйте набор ключей с торцевыми головками для надежной и точной затяжки крепежных элементов.
2. Динамометрический ключ – необходим для соблюдения точных значений усилия при затяжке крепежей насоса, рулевых тяг и других компонентов ГУР.
3. Набор отверток – крестовые и плоские отвертки для демонтажа и монтажа креплений шлангов и трубопроводов.
4. Ключ для соединений трубопроводов – используется для правильного монтажа шлангов и труб, исключая повреждения резьбы или срыв соединений.
5. Специальный съемник для подшипников – необходим для демонтажа старого насоса ГУР и других вращающихся частей системы.
6. Гаечный ключ на 24 мм – для работы с соединениями рулевого механизма и других частей ГУР.
Материалы:
1. Новый насос ГУР – выбирайте качественный и проверенный компонент, совместимый с моделью КамАЗ 65115С 6520.
2. Шланги для ГУР – обязательно используйте высококачественные шланги, стойкие к высоким давлениям и воздействиям рабочих жидкостей.
3. Жидкость для гидроусилителя руля – согласно рекомендациям производителя, используйте жидкости, предназначенные специально для системы ГУР КамАЗ.
4. Уплотнительные кольца и прокладки – убедитесь, что все резинотехнические изделия соответствуют размеру и стандартам, чтобы избежать утечек жидкости.
5. Антифриз или жидкость для системы охлаждения (если требуется для некоторых вариантов установки) – используйте только рекомендованные типы жидкостей.
6. Смазочные материалы – смазка для подшипников, трубопроводов и других элементов, чтобы предотвратить износ и повреждения в процессе эксплуатации.
Дополнительные рекомендации:
Перед началом работ тщательно проверьте весь инструментарий и материалы на отсутствие дефектов и повреждений. Убедитесь, что у вас есть все необходимое, чтобы избежать перерывов в процессе монтажа. Также рекомендуется предварительно очистить рабочее место и подготовить подходящее освещение для удобства работы.
Проверка и диагностика системы рулевого управления перед установкой
Перед установкой гидроусилителя руля (ГУР) на КамАЗ 65115С и 6520 необходимо выполнить диагностику системы рулевого управления. Эта процедура поможет избежать скрытых дефектов, которые могут повлиять на работоспособность нового оборудования.
Первым шагом является осмотр рулевого механизма. Нужно проверить, нет ли износа или повреждений на рулевых тягах, вала и кронштейне. Особое внимание стоит уделить люфтам в соединениях. Если люфт превышает допустимые значения, это указывает на необходимость замены поврежденных деталей.
Затем проверяется состояние рулевого насоса. Он должен работать без посторонних звуков и вибраций. Пониженная эффективность насоса или нестабильная работа могут свидетельствовать о его износе или загрязнении системы.
После этого выполняется осмотр и диагностика гидравлических шлангов и соединений. Важно удостовериться, что шланги не имеют трещин, изломов или признаков износа. Утечка жидкости из гидравлической системы может привести к недостаточной мощности рулевого управления.
Обратите внимание на уровень и состояние гидравлической жидкости. Жидкость должна быть чистой и соответствовать требованиям производителя. Загрязненная или стареющая жидкость может ухудшить работу всей системы.
Для более точной диагностики необходимо проверить давление в гидравлической системе с помощью манометра. Нормальное давление должно соответствовать рекомендациям завода-изготовителя. Несоответствие давления может указывать на неисправность в насосе, гидрораспределителе или других компонентах.
Если все компоненты системы рулевого управления находятся в хорошем состоянии, можно приступать к установке ГУР. В противном случае следует заменить или отремонтировать неисправные детали перед продолжением работы.
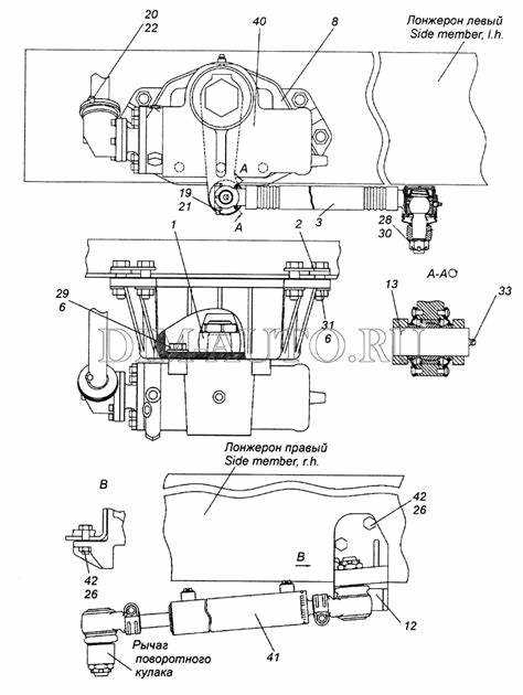
Снятие старой гидравлической системы рулевого управления

Перед началом снятия старой гидравлической системы рулевого управления на КамАЗ 65115С 6520 необходимо подготовить инструменты и материалы: ключи, отвертки, емкость для слива жидкости, новые прокладки, а также средства индивидуальной защиты.
1. Выключите двигатель и отключите аккумулятор, чтобы избежать случайного включения системы.
2. Освободите пространство вокруг рулевого механизма. Для этого можно снять пластиковые и металлические элементы кузова, которые ограничивают доступ.
3. Слейте жидкость из гидросистемы, открутив сливной болт на насосе ГУР или шланге, который соединяет насос с гидробаком. Убедитесь, что жидкость полностью слилась, чтобы избежать загрязнения окружающей среды.
4. Отсоедините все гидравлические шланги от насосов и рулевой колонки. Для этого используйте подходящие ключи для откручивания соединений. Следите за герметичностью шлангов и прокладок, чтобы не повредить их при снятии.
5. Открутите крепления рулевого насоса и аккуратно снимите его. Насос ГУР закреплен на двигателе с помощью нескольких болтов, которые нужно ослабить и удалить.
6. Снимите рулевой механизм. Для этого нужно открутить болты, которые фиксируют рулевую колонку и соединяют ее с механизмом управления. При необходимости, используйте съемник для аккуратного извлечения элементов, которые могут быть зафиксированы коррозией или загрязнениями.
7. Снимите гидробак, если его установка предполагает отдельное крепление. Обратите внимание на положение прокладок и крепежных элементов при снятии.
8. Очистите все соединительные элементы и поверхности, на которых были установлены компоненты старой системы. Это необходимо для того, чтобы избежать загрязнения при установке новой гидравлической системы.
9. Проверьте состояние снятых деталей. Если они подлежат ремонту или повторному использованию, необходимо провести их осмотр и очистку.
После выполнения этих шагов старую гидравлическую систему рулевого управления можно полностью удалить, готовя место для установки нового оборудования.
Монтаж насоса гидроусилителя руля на КамАЗ 65115С 6520
1. Подготовка к монтажу
Перед началом работы убедитесь, что транспортное средство стоит на ровной поверхности, а двигатель выключен. Для повышения безопасности отсоедините аккумулятор. Подготовьте необходимые инструменты: гаечные ключи, отвертки, а также прокладки и крепежные элементы, которые идут в комплекте с насосом.
2. Демонтаж старого насоса (если требуется)
Если на автомобиле уже установлен старый насос, сначала снимите его. Для этого открутите крепежные болты, которые фиксируют насос к кронштейну. Затем отсоедините шланги гидравлической системы, не забывая слить остатки масла из системы для предотвращения загрязнений.
3. Установка нового насоса
Закрепите насос ГУР на предназначенном для него месте с использованием крепежных элементов. Важно, чтобы насос располагался в точности так, как указано в технической документации, для обеспечения правильной работы системы.
4. Подключение трубопроводов
Подсоедините входной и выходной трубопроводы к насосу, следя за тем, чтобы они были правильно размещены и не перегибались. Убедитесь, что соединения герметичны. Проверьте, чтобы уплотнительные кольца и прокладки были в хорошем состоянии, чтобы предотвратить утечку жидкости.
5. Проверка на наличие воздушных пробок
После монтажа насоса важно удалить воздух из гидравлической системы. Для этого несколько раз поверните рулевое колесо в крайние положения, пока система не будет полностью заполнена жидкостью. Обратите внимание на уровень масла в бачке гидроусилителя, при необходимости долейте жидкость до нормы.
6. Проверка работы системы
После завершения монтажа запускайте двигатель и проверяйте работу насоса на холостых оборотах. Убедитесь, что руль вращается легко, без посторонних шумов и рывков. Если обнаружены утечки жидкости или нестабильная работа насоса, повторно проверьте соединения и уровень жидкости.
7. Завершение работы
По окончании монтажа закрепите все элементы и устраните следы работы. Проверьте систему на протяжении нескольких дней, чтобы убедиться в ее надежности и исправности.
Подключение шлангов и трубопроводов к насосу и рулевой колонке
Для правильного подключения шлангов и трубопроводов к гидроусилителю руля (ГУР) на КамАЗ 65115С 6520 необходимо учитывать несколько ключевых моментов, чтобы избежать утечек и обеспечить стабильную работу системы. При подключении следует строго соблюдать последовательность установки и применяемые параметры резьбы и уплотнений.
Первым шагом является установка шлангов высокого давления, которые соединяют насос с рулевой колонкой. Эти шланги должны быть зафиксированы на штуцерах насоса и рулевой колонки с использованием соответствующих контргайок, чтобы предотвратить их самопроизвольное ослабление. Перед установкой рекомендуется тщательно осмотреть шланги на наличие повреждений и дефектов. Все соединения должны быть герметичными, для чего используют специальные уплотнительные кольца.
Шланги низкого давления подключаются аналогично, но в этом случае можно использовать менее жесткие шланги с меньшей стойкостью к нагрузкам. Важно следить, чтобы шланги не имели излишних изгибов, которые могут вызвать повышение давления в системе и привести к аварийным ситуациям. Все соединения должны быть затянуты с необходимым усилием, указанным в технической документации.
На конце каждого шланга, соединяющего насос с рулевой колонкой, должны быть установлены фильтры, предотвращающие попадание грязи и других частиц в гидравлическую систему. Это повышает долговечность и эффективность работы гидроусилителя руля.
После подключения трубопроводов следует проверить систему на герметичность. Для этого можно использовать гидравлическое тестирование под рабочим давлением. При наличии утечек необходимо вновь проверить затяжку всех соединений и убедиться в исправности уплотнительных элементов.
Не забывайте, что регулярная проверка состояния шлангов и трубопроводов позволяет своевременно выявлять повреждения, предотвращая серьезные поломки системы ГУР.
Настройка и проверка работы гидроусилителя руля
Проверка уровня жидкости в системе

Перед началом настройки убедитесь, что уровень жидкости в системе гидроусилителя руля находится в пределах нормы. Низкий уровень может привести к перегреву насоса и его повреждению.
- Проверьте уровень жидкости на холодном двигателе, чтобы избежать ошибок из-за расширения жидкости при нагреве.
- Жидкость должна быть прозрачной, без загрязнений и посторонних примесей.
- При необходимости долейте жидкость рекомендованного типа (например, Тосол или аналог). Использование неподобающей жидкости может вызвать поломки системы.
Проверка давления в системе
Для проверки давления в системе потребуется манометр и соответствующие адаптеры. Эта процедура позволяет определить эффективность работы насоса и других компонентов системы ГУР.
- Подключите манометр к выходному патрубку насоса гидроусилителя.
- Запустите двигатель и измерьте давление при максимальной нагрузке на руль.
- Если давление ниже нормы, это может свидетельствовать о неисправности насоса или утечках в системе.
Проверка работы насоса гидроусилителя
Насос ГУР должен работать без посторонних шумов и вибраций. Оцените работу насоса следующим образом:
- Запустите двигатель и вращайте руль влево и вправо на месте. Слушайте, чтобы насос не издавал посторонних звуков, таких как скрежет или стук.
- Проверьте давление с помощью манометра: давление в системе должно быть стабильным и соответствовать стандартам.
- Если слышен свист или гул, это может указывать на износ или повреждение насоса.
Проверка шлангов и соединений
Утечки жидкости – частая причина неисправностей ГУР. Для их проверки осмотрите все шланги и соединения системы:
- Проверьте шланги на наличие трещин и повреждений.
- Проверьте соединения на подтекание жидкости, особенно в местах соединений с насосом и рулевым механизмом.
- Если есть утечка, замените поврежденные элементы и прокачайте систему.
Регулировка усилия на руле
После проверки давления и работы насоса важно откалибровать усилие на руле, чтобы оно соответствовало стандартам. Для этого выполните следующие действия:
- Отрегулируйте давление в системе, если оно слишком высоко или низко. Используйте регулировочный винт на насосе для настройки.
- Проверьте работу системы, вращая руль при стоящем автомобиле. Усилие должно быть равномерным, без рывков и трудностей в движении.
- При необходимости откорректируйте давление до тех пор, пока руль не станет легко поворачиваться на всех скоростях.
Заключение
Правильная настройка и регулярная проверка работы гидроусилителя руля повышает безопасность и комфорт эксплуатации КамАЗ 65115С и 6520. Регулярные осмотры, своевременная замена жидкостей и компонентов системы помогут избежать дорогостоящих ремонтов.
Пуско-наладочные работы и проверка герметичности системы
Перед первым запуском двигателя необходимо исключить наличие воздуха в гидросистеме. Для этого выполните последовательную прокачку рулевого механизма:
- Заполните бачок гидроусилителя рулевой жидкости типа РОСО или её аналога до метки «MAX» на щупе.
- При выключенном двигателе выполните 10–15 полных поворотов рулевого колеса от упора до упора для вытеснения воздуха.
- Контролируйте уровень жидкости. При необходимости долейте до нормы.
После удаления воздуха приступайте к проверке герметичности под давлением:
- Запустите двигатель и установите обороты на уровне 800–1000 об/мин.
- На холостом ходу выполните несколько поворотов рулевого колеса. Следите за уровнем и цветом жидкости – вспенивание указывает на наличие остаточного воздуха.
- Проверьте соединения шлангов высокого и низкого давления, фланцы насоса, соединения рулевого механизма. Особое внимание – переходникам и местам установки уплотнительных колец.
- Если обнаружены следы подтекания, немедленно устраните причину: подтяните соединение, замените повреждённые уплотнители.
После 10–15 минут работы под нагрузкой выполните повторную проверку:
- Остановите двигатель, дайте системе остыть 5–10 минут.
- Осмотрите участки соединений – потёков быть не должно.
- Проверьте натяжение ремня привода насоса – допустимый прогиб не более 10–12 мм при нажатии усилием 10 кгс.
- Окончательно убедитесь в отсутствии пузырей в жидкости и корректной работе усилителя при всех режимах рулевого управления.
Вопрос-ответ:
Какие инструменты понадобятся для установки гидроусилителя руля на КамАЗ 65115С или 6520?
Для работы потребуется стандартный набор слесарного инструмента: ключи (набор рожковых и торцевых), вороток с головками, отвёртки, молоток, монтажка, а также специнструмент — съёмник для рулевых тяг. Обязательно нужно иметь герметик, хомуты, бачок ГУР, шланги высокого и низкого давления, масло для ГУР и сам насос. Некоторые детали могут отличаться в зависимости от комплектации машины, поэтому перед началом желательно сверить номера по каталогу.
Нужно ли снимать кабину при установке ГУР на КамАЗ 6520?
Полностью снимать кабину нет необходимости. Достаточно обеспечить доступ к месту установки насоса и рулевого механизма. В некоторых случаях может понадобиться немного приподнять кабину для удобства монтажа, особенно если доступ к болтам крепления затруднён. Также важно зафиксировать кабину в приподнятом положении во избежание случайного опускания во время работ.
Сколько времени занимает установка гидроусилителя на КамАЗ без опыта?
Если нет опыта, работа может занять от 6 до 10 часов. Это зависит от того, насколько подготовлено рабочее место, есть ли помощник и в каком состоянии сам автомобиль. Основное время уходит на демонтаж старого рулевого механизма, установку нового узла, подгонку и прокладку шлангов, а также удаление воздуха из системы. После установки нужно проверить герметичность всех соединений и провести пробный запуск.
Какие ошибки чаще всего допускают при установке ГУР на КамАЗ?
Одна из распространённых ошибок — неправильная укладка шлангов, из-за чего они могут перетираться или пережиматься. Также нередко забывают прокачать систему от воздуха, что приводит к шуму при работе насоса и нестабильной работе руля. Бывает, что применяют неподходящие крепёжные элементы или не дотягивают болты, что в дальнейшем вызывает течь масла или расшатывание конструкции. Все соединения нужно тщательно проверить перед первым выездом.
Можно ли поставить ГУР от другого автомобиля на КамАЗ 65115С?
Теоретически можно, но это потребует переделки креплений, доработки шкивов, подборки шлангов и других элементов. Заводские системы от КамАЗ 6520 или других моделей значительно упрощают процесс, так как подходят без серьёзных изменений. Использование неоригинальных компонентов часто приводит к трудностям при обслуживании и снижает надёжность. Лучше использовать сертифицированные узлы, подходящие по параметрам давления и крепежу.
