
Установка ускорительного крана на КамАЗ 5511 требует внимательности и точности, чтобы обеспечить долговечность и надежность работы оборудования. Ускорительный кран играет важную роль в повышении производительности транспортного средства, увеличивая его маневренность и эффективность при выполнении различных задач, таких как подъем тяжелых грузов или манипуляции с крупными деталями.
Перед началом установки важно провести тщательную проверку технического состояния автомобиля, особенно его силовых и конструктивных элементов. КамАЗ 5511 имеет определенные особенности, которые могут влиять на процесс установки, например, нагрузочные характеристики рамы, системы электропитания и подключения гидравлических систем. Установка крана требует не только знания технических характеристик, но и опыта в работе с гидравлическими системами, поскольку большинство моделей оснащены именно ими.
Для обеспечения правильной установки ускорительного крана необходимо использовать комплект соответствующих монтажных элементов, а также строго следовать инструкции производителя. Это позволит избежать перегрузок на шасси и минимизировать риски повреждений как крана, так и самого автомобиля. Рекомендуется заранее подготовить инструменты, такие как гидравлический подъемник для точной установки, и проверить все соединения на герметичность и надежность.
Важно: после завершения установки необходимо провести испытания оборудования в условиях, максимально приближенных к рабочим. Это поможет убедиться в правильности монтажа и стабильности работы ускорительного крана в различных режимах. Не стоит игнорировать регламентированные проверки безопасности перед эксплуатацией машины с новым оборудованием.
Выбор места для установки крана на шасси КамАЗ 5511

При установке ускорительного крана на шасси КамАЗ 5511 важно учитывать несколько факторов, чтобы обеспечить оптимальное распределение нагрузки, безопасность эксплуатации и удобство обслуживания. Рассмотрим основные рекомендации по выбору места для установки крана.
- Распределение нагрузки: Место установки крана должно обеспечивать равномерное распределение веса по оси шасси. Лучше всего устанавливать кран в центральной части кузова, чтобы избежать перегрузки передней или задней оси, что может привести к снижению устойчивости и износу подвески.
- Конструкция шасси: Для установки крана необходимо учитывать прочность рамки шасси. Важно выбирать место, где рама имеет необходимую жесткость и возможность монтажа креплений. Это может быть область, где конструкция рамы усилена, например, в районе задней оси.
- Площадь для монтажа: Выбранная область должна быть достаточно просторной для размещения всех компонентов крана, включая его опоры и механизм подъема. Также необходимо оставить пространство для установки гидравлических систем и других вспомогательных устройств.
- Учет маневренности: Важно учитывать, чтобы установленный кран не ограничивал маневренность транспортного средства. Кран не должен мешать свободному движению других устройств, таких как грузовые подъемники или дополнительные приборы, которые могут быть установлены на кузов.
- Доступ к обслуживанию: Место установки крана должно быть выбрано так, чтобы обеспечивался легкий доступ для технического обслуживания и ремонта. Учитывайте пространство для подъезда к крану с инструментами для периодической диагностики и замены комплектующих.
- Устойчивость при работе: Установку крана следует планировать с учетом его работы в различных условиях. Место должно быть выбрано так, чтобы кран был максимально стабилен при подъеме и опускании груза. Для этого необходимо оценить возможное влияние внешних факторов, таких как ветер или неровности на пути.
Правильный выбор места для установки ускорительного крана на КамАЗ 5511 значительно улучшит его эксплуатационные характеристики и обеспечит безопасность работы с краном в условиях повышенной нагрузки.
Подготовка шасси к монтажу ускорительного крана

Перед установкой ускорительного крана на КамАЗ 5511 необходимо тщательно подготовить шасси. Этот процесс включает несколько важных этапов, которые обеспечат правильную эксплуатацию и долговечность устройства.
1. Проверка технического состояния рамы. Рама должна быть целой, без трещин и деформаций. Особое внимание следует уделить месту установки ускорительного крана. Рекомендуется провести дефектовку сварных швов и узлов, чтобы избежать повреждений при эксплуатации.
2. Очистка и подготовка монтажных мест. Убедитесь, что на участке рамы, где будет крепиться кран, нет ржавчины, загрязнений и повреждений. Используйте металлические щетки или пескоструйную обработку для очистки. Также рекомендуется обработать эти места антикоррозийными средствами.
3. Установка усилений на раму. Для повышения прочности конструкции необходимо предусмотреть дополнительные усиления на местах крепления крана. Это могут быть специальные металлические пластины или профили, которые обеспечат равномерное распределение нагрузки по раме.
4. Проверка системы креплений и соединений. Монтаж ускорительного крана потребует использования высокопрочных болтов и гаек. Заранее проверяйте их состояние и крепление, а также используйте соответствующие смазочные материалы для предотвращения коррозии.
5. Подготовка источников питания. Для нормальной работы крана на шасси КамАЗ 5511 необходимо наличие соответствующей системы питания. Убедитесь, что все электрические соединения исправны, и проверьте, что аккумулятор в рабочем состоянии. Также необходимо подготовить все необходимые кабели и разъемы для подключения системы управления крана.
6. Оценка работы подвески. Ускорительный кран увеличивает нагрузку на подвеску автомобиля. Проверьте амортизаторы, пружины и подвесные элементы на наличие износа. В случае необходимости замените поврежденные компоненты, чтобы избежать нестабильности при эксплуатации с краном.
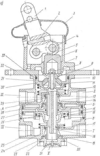
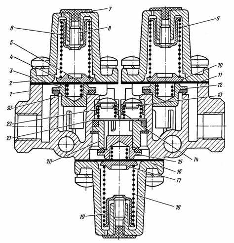
Особенности крепления крана к раме КамАЗ 5511
При установке ускорительного крана на КамАЗ 5511 важно обеспечить надежное и долговечное крепление, соответствующее техническим требованиям и нагрузочным характеристикам автомобиля. Кран крепится к раме с помощью специальных монтажных площадок, которые должны быть усилены в местах соединения с основной конструкцией машины. Для этого обычно применяют закладные элементы, такие как фланцы и усиленные болтовые соединения, что позволяет гарантировать максимальную жесткость и устойчивость при эксплуатации.
Крепежные отверстия должны точно совпадать с местами для установки на раме. Необходимо учесть, что на КамАЗ 5511 рама имеет определенные габариты и форму, поэтому монтажные элементы крана должны быть адаптированы под них. Важно, чтобы крепление крана обеспечивало его устойчивость при максимальных нагрузках, особенно при работе в тяжелых условиях.
Кроме того, перед установкой крана необходимо провести тщательную проверку на наличие повреждений или износа рамы. В случае необходимости, усиление рамы может быть выполнено с помощью дополнительных элементов, таких как металлические вставки или прокладки. Важно учитывать, что усиление рамы должно быть выполнено с соблюдением баланса, чтобы не нарушить геометрические характеристики автомобиля.
При монтаже также необходимо правильно распределить нагрузку, чтобы избежать перегрузки одной из частей рамы. Рекомендуется использовать усиленные болты, которые обладают высокой прочностью на растяжение и сдвиг. После установки крана важно провести проверку крепления на отсутствие люфта и надежность соединений, а также сделать тестовую эксплуатацию для выявления возможных дефектов.
Проведение электрических и гидравлических подключений
При установке ускорительного крана на КамАЗ 5511 важно правильно выполнить электрические и гидравлические подключения для обеспечения надежной работы устройства. Ошибки в этих системах могут привести к сбоям в функционировании крана и даже поломке оборудования. Рассмотрим основные этапы подключения каждой из систем.
Электрическое подключение

Для подключения электрической части ускорительного крана к КамАЗ 5511 необходимо выполнить следующие шаги:
- Питание. Подключение должно осуществляться от аккумуляторной батареи автомобиля через защитные устройства (предохранители и реле). Для этого используется кабель с сечением, соответствующим мощности крана, обычно не менее 4 мм².
- Установка реле и выключателя. Реле для управления электрическими компонентами крана устанавливается в удобном для обслуживания месте на кузове КамАЗ. Включение и выключение электрической системы должно быть максимально простым и надежным, чтобы избежать случайных срабатываний.
- Проводка. Все кабели должны быть прокладываться в защищенных каналах или трубах, чтобы предотвратить повреждения и короткие замыкания. Важно соблюсти полярность и подключение земли.
- Контроль и тестирование. После завершения подключения проводятся тесты на работоспособность всех электрических компонентов крана: от кнопок управления до сигнальных огней и индикаторов.
Гидравлическое подключение

Гидравлическая система крана должна быть подключена к системе автомобиля с учетом максимальных давлений и требуемого расхода жидкости.
- Подключение гидравлических шлангов. Важно использовать шланги с необходимым рабочим давлением, не ниже рекомендованного производителем крана. Шланги должны быть надежно закреплены с помощью хомутов и фитингов.
- Установка гидравлических соединений. Все соединения, такие как фланцы и штуцеры, должны быть выполнены с использованием качественных уплотнителей для предотвращения утечек. Рекомендуется использовать резьбовые соединения с прокладками из фторопласта или меди.
- Регулировка давления. При подключении гидравлического крана следует учитывать, что давление в системе должно быть настроено в соответствии с характеристиками, указанными в технической документации. Для этого устанавливаются редукторы давления и манометры для контроля.
- Проверка герметичности. После монтажа гидравлической системы важно провести тестирование на герметичность. Используются методы проверки на визуальные утечки и контроль давления в системе.
Неправильное выполнение электрических и гидравлических подключений может привести к серьезным поломкам крана и автомобиля. Поэтому следует строго следовать рекомендациям производителя и выполнять все работы с соблюдением техники безопасности.
Настройка и регулировка работы ускорительного крана

Перед началом настройки ускорительного крана на КамАЗ 5511 необходимо удостовериться, что все компоненты установлены правильно и функционируют без видимых дефектов. Регулировка работы крана включает несколько ключевых этапов, обеспечивающих его эффективность и безопасность в эксплуатации.
Первым шагом является проверка работы гидравлической системы. Убедитесь, что уровень гидравлической жидкости в системе соответствует нормам, а шланги и соединения не имеют утечек. Для регулировки давления в системе используйте манометр, подключённый к соответствующему разъему на насосе. Давление должно быть установлено в пределах 16-18 МПа для стандартных моделей ускорителей.
После проверки гидравлики можно приступить к регулировке механизма подъема. Для этого настройте натяжение тросов или цепей, которые приводят в движение стрелу. Убедитесь, что натяжение равномерное по всей длине и не вызывает перегрузки. Отрегулируйте угол наклона стрелы, обеспечив её стабильную работу без колебаний при подъеме или опускании грузов.
Следующий этап – настройка работы ускорительного механизма. Важно обеспечить оптимальную скорость подъема груза, чтобы избежать перегрева двигателя. Для этого установите подходящий режим работы двигателя, который не должен превышать 80% его максимальной мощности на холостом ходу. Отрегулируйте клапан ускорения, который регулирует подачу масла в гидравлическую систему. Идеальный расход масла – 25-30 л/мин при нагрузке.
Особое внимание следует уделить системе управления краном. Протестируйте все элементы управления, такие как рычаги и кнопки. Они должны быть лёгкими в эксплуатации и не требовать усилий для активации. При необходимости отрегулируйте расположение рычагов для комфортного доступа водителя и оператора.
Заключительный этап настройки – проверка работы всех систем крана в реальных условиях. После настройки произведите несколько циклов подъема и опускания груза, убедившись в отсутствии вибраций и посторонних шумов. Контролируйте работу всех механических соединений и гидравлических систем на предмет возможных неисправностей.
Проверка безопасности и тестирование после установки крана

После установки ускорительного крана на КамАЗ 5511 необходимо провести тщательную проверку безопасности. Этот процесс включает несколько ключевых этапов, направленных на подтверждение корректности монтажа и соответствие системы установленным стандартам.
1. Проверка креплений
Убедитесь в надежности всех креплений, болтов и соединений. Особое внимание уделите точкам крепления крана к шасси автомобиля. Проверка должна проводиться с использованием соответствующих инструментов для контроля момента затяжки болтов. Неправильно затянутые элементы могут привести к ослаблению конструкции и снижению безопасности.
2. Оценка гидравлической системы
Гидравлические шланги и соединения должны быть проверены на герметичность. Протечка гидравлической жидкости может быть опасной и указывать на повреждения или ненадежные соединения. Важно проверить давление в гидросистеме и убедиться, что оно соответствует рекомендациям производителя.
3. Проверка работы кранового оборудования
После подключения всех систем проведите тестовую операцию крана в различных режимах работы. Проверьте плавность подъема и опускания груза, а также работу всех механизмов, включая поворотный круг. Оцените реакцию крана на управление, убедитесь в отсутствии лишних вибраций или шумов, которые могут свидетельствовать о неправильной установке.
4. Тестирование на максимальную нагрузку
Проведите тестирование с максимальной нагрузкой, которую кран способен поднять согласно техническим характеристикам. Это поможет определить, насколько эффективно оборудование работает в экстремальных условиях. При тестировании важно следить за стабильностью работы всех механизмов и состоянием гидравлической системы.
5. Проверка системы безопасности
Убедитесь в исправности всех систем безопасности крана, включая ограничители нагрузки и аварийные выключатели. Проверьте их на работоспособность, а также убедитесь, что все индикаторы и сигнализация функционируют должным образом.
6. Оценка условий эксплуатации
Проверьте, что кран правильно установлен с учетом геометрии кузова и нагрузки на оси автомобиля. Несоответствие может привести к быстрому износу техники или даже аварийным ситуациям.
По завершении проверки всех систем рекомендуется провести дополнительную проверку после первых 50-100 часов работы крана для исключения возможных ослаблений или повреждений.
Вопрос-ответ:
Как правильно установить ускорительный кран на КамАЗ 5511?
Установка ускорительного крана на КамАЗ 5511 требует соблюдения ряда технических этапов. Сначала необходимо установить кронштейн, на который будет монтироваться сам кран. Затем следует подключить гидравлическую систему, если она предусмотрена конструкцией. Важно точно соблюдать все размеры и крепления, чтобы избежать повреждений в процессе эксплуатации. Для подключения системы следует использовать специализированные детали, соответствующие характеристикам транспортного средства. После установки рекомендуется провести проверку работы крана, чтобы убедиться в правильности соединений и герметичности гидравлических шлангов.
Какие инструменты нужны для установки ускорительного крана на КамАЗ 5511?
Для монтажа ускорительного крана на КамАЗ 5511 понадобятся следующие инструменты: набор гаечных ключей, отвертки, электродрель для крепежных работ, домкрат для поднятия частей автомобиля, а также специализированные ключи для работы с гидравлическими соединениями. Также может понадобиться монтажный уголок или уровень для точности установки. Важно использовать только качественные инструменты, чтобы не повредить детали и обеспечить долговечность установки.
Можно ли установить ускорительный кран на КамАЗ 5511 самостоятельно или лучше обратиться к специалистам?
Установка ускорительного крана на КамАЗ 5511 возможна как самостоятельно, так и с привлечением специалистов, в зависимости от уровня опыта и наличия необходимого оборудования. Если вы имеете опыт работы с автомобилями и нужные инструменты, можно выполнить установку самостоятельно. Однако, если нет уверенности в своих силах, лучше обратиться к профессиональным механикам, чтобы избежать ошибок, которые могут привести к поломке или неправильной работе системы. Специалисты также смогут провести настройку оборудования для максимальной эффективности работы крана.
Какие возможные проблемы могут возникнуть при установке ускорительного крана на КамАЗ 5511?
При установке ускорительного крана на КамАЗ 5511 могут возникнуть несколько проблем. Одной из них является неправильное подключение гидравлической системы, что может привести к утечке жидкости или неэффективной работе крана. Также возможны проблемы с креплением устройства, если не учесть точные размеры или использовать неподходящие крепежи. В некоторых случаях могут возникнуть сложности при настройке крана, особенно если он не был правильно установлен. Поэтому важно тщательно проверить все этапы установки и провести необходимые тесты после завершения работы.
